
4. Installation
5. Fuse
Use the appropriate BS 1362 fuse for the load. The unit is supplied with
a suitable 13A fuse.
The unit is designed to replace an existing single gang connection unit or fixed appliance
outlet giving timed mains output, protected by a BS 1362 fuse. The unit is capable of
forming part of a ring main (the terminals can accept 2 x 2.5mm sq. cables) or terminating
a spur off the ring main. The unit requires a minimum depth of 25mm within the box.
Ensure that the wiring is adequate for the load to be carried. Connect incoming and
outgoing cables to the relevant terminals. Secure the unit to the back box with the
3.5mm screws provided forming the cables during installation to avoid entrapment
and cable damage.
Use the earth terminal in the back box for earth continuity if required. If installed into a
metal back box, earthing of the back box is required.
There is a removable cable blank to cover the front cable exit if this feature is not required.
If front exiting cable is required, for instance to connect to a washing machine, use the
cable clamp supplied to secure the outgoing cable.
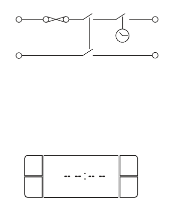
L IN L OUTTIME SWITCH
DOUBLE POLE
SWITCH
N OUT
BS 1362
FUSE
N IN
SUPPLY
BS 1362
fuse
Double pole switch
Time switch
L OUT
L OUT
N OUT
N IN
APPLIANCE
SUPPLY
6. First Supply Connection and Reset
From first supply connection, press Reset with a pointed object.
The display will show the full character set, and then display:
The only button which is now active is the time button. Now proceed to setting
the date/time and then programming the ON and OFF times.
Prog Adv
Time Bst
Year
Prog Adv
Time Bst
SET
Month
Prog Adv
Time Bst
SET
Day
Prog Adv
Time Bst
SET
Time
Prog Adv
Time Bst
SET
Time
Prog Adv
Time Bst
SET
Prog Adv
Time Bst
Mo
SET
MODE
Prog Adv
Time Bst
Mo Tu We Th Fr Sa Su
SET
Prog Adv
Time Bst
Mo Tu We Th Fr
Prog
ON
SET
Prog Adv
Time Bst
Mo Tu We Th Fr
Prog
OFF
SET
Prog Adv
Time Bst
Sa Su
Prog
ON
SET
BOOST 1
Prog Adv
Time Bst
Mo
ON
BOOST 2
Prog Adv
Time Bst
Mo
ON
Prog Adv
Time Bst
Mo
OFF
Fig. 3
Internal Schematic of FST17A/FST11A
L IN
Kommentare zu diesen Handbüchern